加入購物車成功!
一、概述
LWGY渦輪流量計是由渦輪流量傳感器與顯示儀表組成,是本廠采用國外xj****技術生產制造的,是液體計量***理想的流量計之一。流量計具有結構簡單、準確度高、安裝維修使用方便等特點。該產品廣泛用于石油、化工、冶金、供水、造紙、環保、食品等領域,適用于測量封閉管道中與不銹鋼1Cr18Ni9Ti、2Cr13及剛玉Al2O3、硬質合金不起腐蝕作用,且無纖維、顆粒等雜質的液體。若與具有特殊功能的顯示儀表配套使用,可以進行自動定量控制、超量報警等用途。
二、產品特點:
1.傳感器為硬質合金軸承止推式,不僅保證精度,并且提高耐磨性能。
2.結構簡單、牢固以及拆裝方便。
3.測量范圍寬,下限流速低。
4.壓力損失小,重復性好,準確度高。
5.具有較高的抗電磁干擾和抗振動能力。
三、工作原理:
流體流經傳感器殼體,由于葉輪的葉片與流向有一定的角度,流體的沖力使葉片具有轉動力矩,克服摩擦力矩和流體阻力之后葉片旋轉,在力矩平衡后轉速穩定,在一定的條件下,轉速與流速成正比,由于葉片有導磁性,它處于信號檢測器(由長久磁鋼和線圈組成)的磁場中,旋轉的葉片切割磁力線,周期性的改變著線圈的磁通量,從而使線圈兩端感應出電
脈沖信號,此信號經過放大器的放大整形,形成有一定幅度的連續的矩形脈沖波,可遠傳至顯示儀表,顯示出流體的瞬時流量和累計量。在一定的流量范圍內,脈沖頻率f與流經傳感器的流體的瞬時流量Q成正比,流量方程為:

式中:
f——脈沖頻率[Hz];
k——傳感器的儀表系數[1/m3],由校驗單給出。若以[1/L]為單位
Q——流體的瞬時流量(工作狀態下)[m3/h];
3600——換算系數。
每臺傳感器的儀表系數由制造廠填寫在檢定證書中,k值設入配套的顯示儀表中,便可顯示出瞬時流量和累積總量。
四.主要技術性能:
1.公稱通徑:(4~200)mm基本參數見表一;
2.介質溫度:(-20~80)℃、(-20~120)℃;
3.環境溫度:(-20~55)℃;
4.準 確 度:±0.2%、±0.5%、±1%;
5.檢出器信號傳輸線制:三線制電壓脈沖(三芯屏蔽電纜);
6.供電電源:電壓:12V±0.144V, 電流:≤10mA;
7.輸出電壓幅值:高電平≥8V,低電平≤0.8V;
8.傳輸距離:傳感器至顯示儀表的距離可達250米;
9.現場顯示型供電電源:3V(鋰電池供電,可連續使用3年);
10.顯示方式:現場液晶顯示瞬時流量和累計流量;
11.現場顯示帶信號輸出供電電源:24V;4~20mA兩線制電流輸出,遠傳距離500米。
表一
LWGY□ | □□□ | □ | □ | □ | 說 明 | ||||
類 型 | LWGYA | 流量傳感器脈沖輸出三線制,+12V供電; | |||||||
LWGYB | 現場顯示型3V電池供電; | ||||||||
LWGYC | 現場顯示帶4~20mA或脈沖輸出,+24V供電; | ||||||||
LWGYD | 流量變送器4~20mA輸出,+24V供電; | ||||||||
公 稱 通 徑 | 4 | 正常流量范圍 m3/h | 0.04~0.25 | 擴展流量范圍 m3/h | 0.04~0.4 | ||||
6 | 0.1~0.6 | 0.06~0.6 | |||||||
10 | 0.2~1.2 | 0.15~1.5 | |||||||
15 | 0.6~6 | 0.4~8 | |||||||
20 | 0.8~8 | 0.45~9 | |||||||
25 | 1~10 | 0.5~10 | |||||||
32 | 1.5~15 | 0.75~15 | |||||||
40 | 2~20 | 1~20 | |||||||
50 | 4~40 | 2~40 | |||||||
65 | 7~70 | 3.5~70 | |||||||
80 | 10~100 | 5~100 | |||||||
100 | 20~200 | 10~200 | |||||||
125 | 25~250 | 12.5~250 | |||||||
150 | 30~300 | 15~300 | |||||||
200 | 80~800 | 40~800 | |||||||
防 爆 | 無標記,為非防爆型 | ||||||||
B | 防爆型 | ||||||||
精度 等級 | A | 準確度0.2級 | |||||||
B | 準確度0.5級 | ||||||||
C | 準確度1.0級 | ||||||||
渦輪 類型 | A | 正常流量范圍 | |||||||
B | 擴展流量范圍 | ||||||||
說明: DN4~DN40管徑的傳感器為螺紋連接,配有前后直管段和過濾器,***大壓力為6.3Mpa。 DN50~DN200管徑的傳感器為法蘭連接, ***大壓力為2.5Mpa。 DN15~DN40管徑可選配前后直管段或活接頭,材質分碳鋼和不銹鋼。 DN15~DN40管徑如需法蘭連接,訂貨時說明。 ★高壓型及特殊要求訂貨時說明。 | |||||||||
五、外型尺寸:
傳感器的安裝方式根據規格不同,采用螺紋或法蘭連接,安裝方式見圖一、圖二、圖三、圖四、圖五;安裝尺寸見表二。
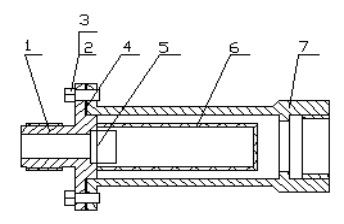
圖一、DN4~DN10傳感器結構及安裝尺寸示意圖
1. 過濾器 2.前直管段 3.葉輪 4.前置放大器 5.殼體 6.后直管段
圖二、過濾器結構圖
1. 壓緊圈 2.螺栓4×14 3.墊圈 4.密封墊圈 5.鋼絲1Cr18Ni9Ti-0.8×2.5 6.過濾網 7.座
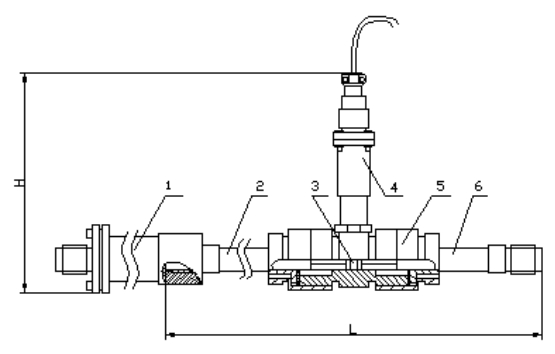
圖三、DN15~DN40傳感器結構及安裝尺寸示意圖

1. 殼體 2.前導向件 3.葉輪 4.后導向件 5.前置放大器
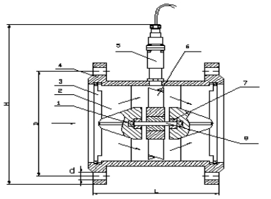
圖四、LWGY—50~200傳感器結構及安裝尺寸示意圖
1. 球軸承 2.前導向件 3.漲圈 4.殼體 5.前置放大器 6.葉輪 7.軸承 8.軸

表二 單位:(mm)
型號 | 公稱通徑 | L | H | G | Lˊ | D | d | 孔數 |
LWGY-4 | 4 | 295 | 145 | G1/2 | 195 | |||
LWGY-6 | 6 | 330 | 145 | G1/2 | 230 | |||
LWGY-10 | 10 | 450 | 165 | G1/2 | 350 | |||
LWGY-15 | 15 | 75 | 173 | G1 | ||||
LWGY-20 | 20 | 85 | 178 | G1 | ||||
LWGY-25 | 25 | 100 | 180 | G1 1/4 | ||||
LWGY-32 | 32 | 120 | 190 | G1 1/2 | ||||
LWGY-40 | 40 | 140 | 178 | G2 | ||||
LWGY-50 | 50 | 150 | 252 | ?125 | ?18 | 4 | ||
LWGY-65 | 65 | 175 | 265 | ?146 | ?18 | 8 | ||
LWGY-80 | 80 | 200 | 287 | ?160 | ?18 | 8 | ||
LWGY-100 | 100 | 220 | 322 | ?180 | ?18 | 8 | ||
LWGY-125 | 125 | 240 | 335 | ?220 | ?26 | 8 | ||
LWGY-150 | 150 | 300 | 367 | ?250 | ?25 | 8 | ||
LWGY-200 | 200 | 360 | 415 | ?295 | ?23 | 12 |
注:法蘭執行標準:GB/T9112、9113、9115、9116、9117-2000國家標準;
DN-10~DN-150壓力2.5MPa;DN-200壓力1.0MPa;
六、安裝要求:
流量計可水平或垂直安裝,垂直安裝時流體流動方向應從下向上,液體須***充滿管道,不得有氣泡;液體流動方向要與傳感器外殼上指示流向的箭頭方向一致;傳感器前后直管段要求(見圖六),上游端至少應有10
倍公稱通徑長度的直管段,下游端應不少于5倍公稱通徑的直管段,其內壁應光滑清潔,無凹痕、積垢和起皮等缺陷。傳感器的管道軸心應與相鄰管道軸心對準,連接密封用的墊圈不得深入管道內腔;傳感器應遠離外界電場、磁場,必要時應采取有效的屏蔽措施,以避免外來干擾。
為了檢修時不致影響液體的正常輸送,建議在傳感器的安裝處,安裝旁通管道。
傳感器露天安裝時,請做好放大器及插頭的防水處理。傳感器與顯示儀表的接線如圖五所示。
當流體中含有雜質時,應加裝過濾器,過濾器網目根據流量雜質情況而定,一般為20~60目。當流體中混有游離氣體時,應加裝消氣器。整個管道系統都應良好密封。用戶應充分了解被測介質的腐蝕情況,嚴防傳感器受腐蝕。

七、使用
◆ 使用時,應保持被測液體清潔,不含纖維和顆粒等雜質。
◆ 傳感器在開始使用時,應先將傳感器內緩慢的充滿液體,然后再開啟出口閥門(閥門應安裝在流量計后端),嚴禁傳感器處于無液體狀態時受到高速流體的沖擊。
◆ 傳感器的維護周期一般為半年。檢修清洗時,請注意勿損傷測量腔內的零件,特別是葉輪。裝配時請看好導向件及葉輪的位置關系。
◆ 傳感器不用時,應清洗內部液體,吹干后且在傳感器兩端加上防護套,防止塵垢進入,然后置于干燥處保存。(此項非常重要)
◆ 配用的過濾器應定期清洗,不用時應清洗內部的液體,同傳感器一樣,加防塵套,置于干燥處保存。
◆ 傳感器的傳輸電纜可架空或埋地敷設(埋地時應套上鐵管。)
◆ 在傳感器安裝前,先與顯示儀表或示波器接好連線,通電源,用口吹或手撥葉輪,使其快速旋轉觀察有無顯示,當有顯示時再安裝傳感器。若無顯示,應檢查有關各部分,排除故障。













